Выключатель-разъединитель ВНК-39-31131-32 УХЛ3
Описание товара
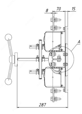
Выключатели-разъединители серии ВНК предназначены для включения, пропускания и отключения переменного тока в устройствах распределения электрической энергии, могут быть использованы в качестве главных и аварийных выключателей.
Основными узлами аппарата являются подвижные и неподвижные контакты и механизм мгновенного действия.
Корпус аппарата состоит из верхнего и нижнего блоков, стянутых винтами. В верхней части корпуса имеется прозрачная защитная крышка, позволяющая наблюдать за положением контактов.
В нижнем блоке корпуса установлены неподвижные ножевые контакты, компактные дугогасительные камеры и ползун с установленными в него подвижными контактами.
Включение и отключение аппарата производится с помощью фронтальной рукоятки посредством механизма мгновенного действия, перемещающего ползун с подвижными контактами параллельно плоскости монтажа аппарата.
Скорость срабатывания механизма не зависит от скорости движения руки оператора, тем самым обеспечивается мгновенное и одновременное замыканиеконтактов всех полюсов.
Внимание: характеристики товара, комплект поставки и внешний вид могут быть изменены производителем без предварительного уведомления. Указанная информация не является публичной офертой.
Показать все
Скрыть
Отзывы
У данного товара пока нет отзывов. Станьте первым, кто поделится своим мнением и поможет другим сделать выбор
Спасибо за ваш отзыв!
Менеджер свяжется с вами в течение 30 минут для уточнения деталей, стоимости и условий доставки
Зарегистрированные пользователи могут отслеживать статус заказа в личном кабинете
С этим товаром смотрят
Выключатель-разъединитель ВР32-37В31250-32 УХЛ3
10 сум
ВЫКЛ-РАЗЪЕД-ПРЕДОХР. ISFL250 (ПРЯМОЕ КРЕПЛ. НА ШИНУ Schneider Electric
10 сум
Выключатель-разъединитель ВНК-41-31130-32 УХЛ3 лев.
10 сум
Выключатель-разъединитель ВР32-39-В31250-32УХЛ3
10 сум
Выключатель-разъединитель ВНК-37-31130-32УХЛ3 лев.
10 сум
RSA3015E-TG — анализатор спектра реального времени с трекинг-генератором
72 583 680 сум
Выключатель-разъединитель ВР32-39А31240-00 УХЛ3 лев.
10 сум
Выключатель-разъединитель ВР32-39А30220-00 УХЛ3 лев.
10 сум
Выключатель-разъединитель ВР32-31-А-71240-00УХЛ3
10 сум
Syscompact 2000M — компактная мобильная система для отыскания мест повреждений кабельных линий (16 кВ)
10 сум
Выключатель-разъединитель ВР32-37-В-71250-32УХЛ3
10 сум
ВЫКЛ-РАЗЪЕД INTERPACT INS400 3П Schneider Electric
10 сум
Ранее вы смотрели
Выключатель-разъединитель ВНК-39-31131-32 УХЛ3
Выключатель-разъединитель ВНК-43-21131-32 УХЛ3
Контакт основания к ПН2 100 А (медь)
CENTER 266 — электроизмерительные клещи
JIC-125 — стриппер для оптоволокна 125, 250 мкм
ТЕТРОН-Т1350 — пирометр инфракрасный
6ES7972-0AA01-0XA0 КОНТРОЛЛЕРЫ SIEMENS S7-200
Контакторы Siemens 3RT1025-1XF40-0LA2
Разъединитель РЕ19-43-22210-00 УХЛ3
Контакторы Siemens 3RT1034-1AG20-1AA0
Похожие категории